アマチュア無線
カムバック アマチュア無線
ページが長くなりました。目次を付けました。- COLLINS 75S-3B ウイングマークのレストア
- COLLINS 32S-3 ランドマークのレストア
- COLLINS 32S-3 ウイングマークのレストア
- COLLINS KWM-2A ランドマークのレストア
- Kenwood TS-440S をデジタルで使う
- FT-817もデジタルモード
- Collins KWM-2A and 75S-3B, 32S-3
- TS-830VついにBANDスイッチの分解修理に着手
- リベンジTS-830VのBANDスイッチの再分解修理に着手
- 和文モールス練習用mp3ファイルの制作
- aitendoの格安7segLCDを使ったFT817周波数表示器
- 軍用や懐かしいスタイルのヘッドフォン、CW受信に重宝しています。
- スモールループアンテナの試作7.025MHz
- 軍用受信機BC-342のレストアについて。
- TS-780のディスプレイが点灯しない不具合の修理
- TS-440の音が小さくなる故障の修理
- オークションで購入したTS-520Xの修理 オークションで購入したTS-520Vの修理
- オークションで購入したFT-101Bの修理
- 近所のOMからいただいたTS-830Vの修理
- FT-101ZSDをオークションで買った
- 回路図・サービスマニュアル
- 32S-3
の修理完了
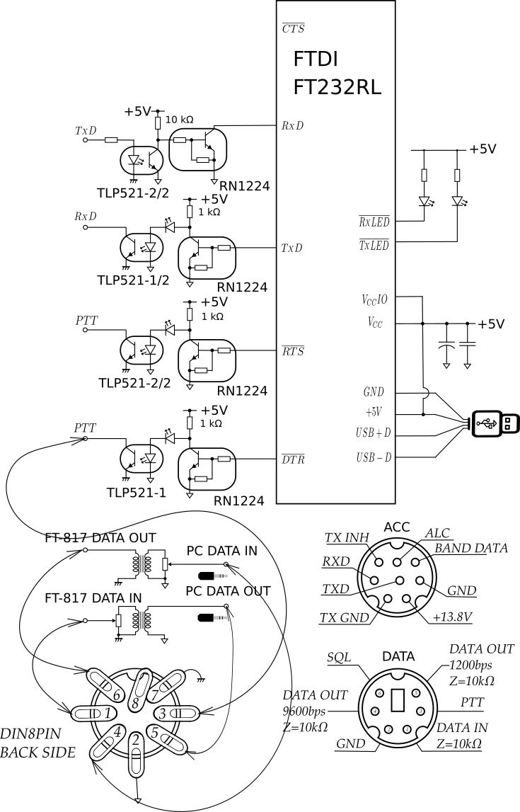
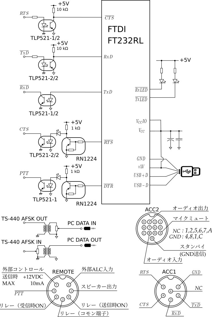
FT-817でもデジタルモード
Kenwood TS-440S をデジタルで使う
接続回路(USB<ーーーー>TTL)
HAM RADIO DELUX v5の設定
/dev/ttyUSB1の場合
wsjtxの設定
/dev/ttyUSB0の場合
スモールループアンテナの試作
高耐圧可変コンデンサ試作1可変範囲10〜72pF
t1のステンレス板と5tアクリルをM6ボルトとスペーサーで組み立てた。
試作2可変範囲9〜57pF
組み立てようスペーサーM6外形φ7.8MM高さ5MMスペーサー
部品調達
FT-101ZSDをオークションで買った
前期タイプでWARC対応していません。CWフィルタ無しも残念ですが、中を開けるとキレイでした。ホコリがほとんどありません。接触不良やガリは接点洗浄しました。かなり改善しました。
MSM561の10ピンからLEDまでをはんだこてを当ててみました。
FT-817の附属装置
FT-817の液晶パネルは、小さくて見難いので7セグLEDを使って表示を拡大してみました。
PIC16F887を使って作ってみました。周波数が見やすくなりました。 周波数・モード・シグナル強度を表示しています。左バーグラフが信号強度。右数字がモードを表す。ちなみに2はCW、0はLSBです。 ケースにまとめてみました。LEDをくっきり表示させるのに苦労しました。 回路図およびプログラム
外部モニターLCD版です。 QRP運用
QRP
JF1RNR今井さんが設計した受信部ダイレクトコンバージョンで出力0.5Wの7MHzトランシーバを製作しました。
それから
すでに20局以上の皆さんとQSOができました。恐るべし0.5WのCW!!
2台目
2014年4月29日18:10に8J9VLP/9局とQSOできました。his449my559のレポート交換でした。当方DC受信機なので信号了解度はどうしても辛目になります。
CWアクティブオーディオフィルタ
2014年10月CWオーディオフィルタを作りました。JA1BVA斉藤さん設計のオぺアンプ741によるアクティブフィルタです。二段切り替えです。目的の信号が浮き出るように聞こえます。なかなか役に立ちます。
ファイナルの2SC2053が昇天しました。代わりに2SC1815GRをパラにして接続しています。自作QRP-SWR計もどきで見ると0.5W時の80%くらい出ているようです。
TS-780の修理---ディスプレーが全く点灯しない
職場の同僚からもらったTS-780は、デジタルディスプレイが全く点灯しない状態でした。原因追求のためサービスマニュアルを手に入れたりネットを検索しました。VFDそのものは壊れていないことを確認できたのでおそらくコントロール部に原因があると考えられます。
コンデンサ特にタンタルコンデンサが劣化して悪さをすることが多いようなので写真の(C28,C29)2個を電解コンデンサに交換するとたちまち周波数ディスプレイが復活しました。見た目では、不良かどうか判別できません。
TS-780のユーザーマニュアル 別のサービスマニュアルの在処
TS-440の修理----音がとっても小さい
大昔購入開局できずに保管していたトランシーバを最近使い始めました。外観も内観も非常に綺麗ですが、音が非常に小さくてそのままでは聞こえません。やむを得ず外部にアンプを作りそれを通して聞いていました。TS-780の修理をきっかけにこれも直せないかとサービスマニュアルを入手し原因究明を行いました。AFアンプ部の上面からの視認では全くコンデンサも壊れている様子がありません。
少しでも音が出ているのでICのuPC2002が壊れているとも思えません。増幅率を決めるC173あたりがあやしいので、IFユニット基板を裏返してC173を取り外そうとしました。ところが半田面をよく見ると出力側のカップリングコンデンサC176の半田部分だけ黒く変色していることに気が付きました。外してみるとなんとコンデンサの下部から液漏れしています。これを交換したらあっけなく音が戻りました。
TS-440のユーザーマニュアル 別のサービスマニュアルの在処
ヘッドフォンコレクション
2014年と2015年のハムフェアで掘り出し物を見つけました。
2014年は軍用ヘッドセット、2個で500円でした。買ったときは、ホコリだらけでしたが、コネクタを交換してお掃除して重宝に使っています。(左から1番目)H-113(左から2番目)H−251(左から3番目)沖縄のジャンクショップからネット経由で購入。2,000円くらいでした。マイク付きです。片耳なので声をかけられても聞こえます。マイクも使用出来ました。
2015年は、謎の300Ωレシーバ。
(下右)本体は、新品のようですがコネクタが汚れていました。700円でした。QRPpのレシーバに使っています。
JE1VQM
バグキー復活
35年前に買ってお蔵入りしていたハイモンドBK-100を復活。ついでに練習用発振機COK-2も発見。こんなのを買っていました。Hi
早速打ってみましたが、これが難しい。長点が均一に打てません。打ち方の動画を探してもわかりません。練習あるのみでしょうか。
バグキーの打ち方
短点のスピードの速さが挫折の要因だった。短点のスピードを落とすには、振り子のおもりを重くする。自転車の補助輪のように習熟したら外せばいい。
BK100の場合
GHDの場合
あこがれのFT-101Bついにゲット
1975年高校を卒業しました。高校時代の3年間FR-50B,FL-50Bで主に21MHzにONAirでした。7MHzはQRMがひどく50Bラインではちょっときつい感じでした。
そんな頃、高級SSBトランシーバFT-101が発売されました。高級なので手が出ませんでした。Hi
2016年1月3日ついにオークションで高級SSBトランシーバFT-101Bを落札出来ました。なんと5.5k円です。ジャンク扱いでしたのでライバルも手を引いてくれたのでしょう。
1月8日、早速我が家に到着、外観はビューティフル、これがジャンクか!!!!八重洲無線お得意のパネルのビニール保護シートは破れています。新品だとこのビニールシートを取り外す勇気はありませんが、ジャンクですからスッキリ剥がしてかっこ良くしたいと思います。まずは、操作パネルの洗浄から始めますか
上のパネルを外しても目視では埃、サビの他は損傷はないようです。バンド水晶も全部そろっています。メインダイアルをはじめ、ギロチンなどすべてのツマミは滑らかに操作出来ました。文句なし!!
下のパネルを外しても目視では埃もほとんどありません。ラッキー
バックパネルもかなり綺麗です。ウッキー
しかし、ネジの頭はすべてさびさびです。サビ取りもしなければ。
FT-101B/BSマニュアル(日本語)はここです。 FT-101サービスマニュアル(英語)はここです。 FT-101サービスマニュアル(英語)回路図付きはここです。 FT-101サービスマニュアル(英語)回路図鮮明はここです。 Yaesuマニュアル(日本語)はここです。
いよいよ中身拝見(PB1315 AUDIO UNIT)です。目視だけでマイラーコンデンサーの割れたもの多数発見しました。(黄色○)
これらの資料を参考に、破損した部品を交換する。
通電する。何の音もせず、VFOランプ点灯せず。6Vの電源が供給されていない。Q4のMFC6034Aを7806の三端子レギュレータに交換。VFO作動する。
煙なし、キャリブレーション信号でsメータは振れる。AFアンプ不動作か?。AN214Pをアリババより US$8.5 送料無料で購入。到着に3週間以上かかったが約束通り4週間はかからず到着した。交換するが、やはり無音状態が続く。AN214が不良品なのかわからない。2個購入したが2個ともダメ。
後でわかったが新品に交換したはずのコンデンサC51が不良(短絡)だったようだ。
ともかくAN214に頼らない工夫をしよう。秋月電子の低周波アンプのキットが手元にあったのでこれを利用する。できるだけオリジナルを残す方向で検討した。
緑の四角は、取り外した部品。赤い丸は、交換した部品(キットのオーディオ用コンデンサ使用)。
修復も完了か?しかし、呼び出しすれど誰も相手にしてくれません。送信周波数と受信周波数が一致していないようです。CLARI回路のVR3の2端子の電圧をCRALI-OFFで送信時3.60V、受信時3.91Vと計測しました。0.31V違います。この電圧がVFOのバリキャップに掛かります。受信時3.60VにVR4で調整しました。このあと一発応答でした。周波数が一致したようです。
FT101Bは、キャリアを絞って10Wの出力で(自作SWRメータによる)交信しています。
TRIO TS-520X をオークションで購入する。
オークションでツマミが9個無いTS-520X出力10Wを3.7k円で購入しました。ツマミを別のオークションで0.94k円で購入しました。とりあえず標準形に戻りました。特に故障もなく動作しましたが、DRIVEが送信と受信で若干のズレがあったので校正しました。
和文CWの交信でもQRHは指摘されませんでした。(5/8 JJ1TTG/6 Aki OM にQRHの指摘をうけました。対策を考えよう)なんとか使えそうです。ただ、CWフィルタがないのが玉に瑕ですが、耳の訓練と思い7メガCWに出没しています。CQ局の応答率は、90%以上です。アンテナは、WHIPです。アンテナカプラは、必需品です。ベランダの手摺に取り付けているのでアンテナの調整も楽ちんです。おかげでよく飛び良く聞こえます。
シャックが狭いので天気の良い日は、ベランダで運用します。この日は、飯能市のJH1BXVさんと山形県東村山郡のJP7AAVさんと和文CWでそれぞれ1時間以上の長話をしてしまいました。ありがとうございました。クリアに聞こえるとのシグナルレポートもいただきました。
後で知ったのですが、この機種は一番オークションで不人気の機種だとか。なるほど安く購入できたわけです。また、CWフィルターが是非欲しいのですが、CWフィルターは、本体の倍の値段で取引されています。さてどうしたものか。
TS-520X の周波数マーカー(オプション)
CWフィルタに加えて周波数マーカーもありませんでした。オークションでは2k円から2.8k円で分解品が出ていますが3.7k円で買った本体に対しバランスが悪いので自作することにしました。フィルターと違い簡単な工作です。2SC1815Y汎用トランジスタと100kHzのXtalを使用します。Xtalをはじめ部品すべて、手持ちがありましたので制作費0円となりました。100kHzのXtalが入手困難で高額かもしれません。
トランジスタは、すべて2SC1815Yです。秋月のユニバーサル基板を使いましたが、大きすぎました。タテ・ヨコ10mmカットすればいいようですが、そこまでする必要もありませんでした。天井が高いのでスペーサーで嵩上げして一箇所をタッピングネジで固定しました。移動しないのでこれで充分だと思います。
TS-520XのJJY/WWV受信コンバータの修理
マーカーも取り付けたのでJJY/WWVの受信ができない不具合も治したくなります。JJYの10MHzは、廃止されて意味がありませんが、BPM中国が聞けるかもしれません。コンバータの局発部にグリッドディップメータで18MHz帯の信号を注入してやるとマーカー信号がS5位になります。発振回路に異常ありのようです。クリスタルかトランジスタの不具合か?結局トランジスタの不具合のようです。交換しようとしましたが・・・・・・・・

シャーシ上面のRF基板を外してとDRIVEとPLATEのシャフトをはずし基板を止めたタッピングビスをはずしてさあRF基板を裏返しにしようと思いきや、この基板シャーシ下部のバンドコイルとピンで連結されています。正攻法は諦めて裏から攻めることに作戦変更しました。幸いにもなんとかコテ先が届きました。
2SC533を2SC1815Yに変更しました。s7位でマーカー信号を受信出来ました。T3、T4も調整してs9までアップ出来ました。じさいには、使用しませんが、JJY/WWVのスイッチが生き返りなんとなく気持ちがスッキリしました。よる、朝鮮半島からのモールス信号も受信出来ました。
ファイナル交換 S2001
壊れたわけではないけれど、オークションに0.25k円でS2001が出ていました。衝動買い!!!直せる!!!大丈夫!!!というわけで落札しました。
80Mバンド
10Mバンド
80Mから10Mまでしっかりパワーが出ています。
ちゃんと働いています。10Wです。
TS-520V 落札
CWフィルタあり周波数マーカーなしをオークションでは2.9k円で落札しました。ザー音はでますが全バンド受信できません。低周波増幅部は無事、IF部も無事と判断する。キャリアー発振部とVFO部オシロにて発振確認できました。残るは局発部ですが案の定、発振していません。2SC460交換するもダメ。2SK19GRも交換した。やっと発振しました。これでザー音から信号音になりました。この2本裏からなんとかはんだづけできる位置でした。VFOは、高い位置では多分ロータの接触不良で発振が途切れます。まあ、7MHzCWならば問題なしです。出力も20W位出ました。
TUNEモードの時の受信がおかしい?。くぐもった音になっている。これは、キャリア発振が送信と受信で同じ送信用の周波数を使用しているかららしい。CWフィルタも付いているのでこのような音になるのか。
C22(22pF)をショートすると正常な音が聞こえます。つまりCWTとCWRの出力が同じ周波数になれば普通に聞こえるということか?これでよしとします。
早速交信確認をしようと思いVOXをスイッチONするといきなり送信状態になります。VOXの不具合確認しました。とりあえずリレーは動くのでQ8(2SA562)ではないだろう。Q1〜Q4,Q6〜Q7の2SC373を2SC1815GRに順次交換し動作確認したが、不具合解消せず。最後にQ5(2SA562)を秋葉原ラジオ会館5Fの若松通商で購入した新品と交換するとビンゴ。
周波数マーカーがVタイプではオプションです。前回同様オークションで購入するのも高いので自作しました。前回と違い100kHzのクリスタルは使わず4MHzの現発信で160分周して25kHzを作ります。費用は1k程度か?。参考にしたJA0QONさんのページ
TS-830Vが来た
近所のOMさんからTS-830Vをいただきました。
電源を入れると信号が聞こえます。ところが受信音がチャピリます。ピーでなくピヨピヨとなります。周波数が+1.5kHzからー1.5kHz位ランダムに変動していることが周波数がデジタル表示なのでわかります。
たまたま、RITをONするとそれが収まり正常に受信できることがわかりました。怪しいのはそのへんでしょう。
VR2(10kB)を交換してOKになりました。各バンド出力定格通り出ています。 空冷ファンを取り付ける。 CWフィルタの装着 オークションでYK-88C-1を4.9k円で落札しました。 IF UNIT をはずします。が外すのはできません。
これ以上動かせません。
無事完了。混信と雑音は相当軽減されます。減衰はS1位でしょうか。今度は、YG-455Cを探して装着したいと思います。 WARCバンド送信解除
RF UNIT のR42をカットすることで解除されます。周波数表示ユニットで隠れている場所です。 これを外してニッパでカットします。
非純正冷却ファンの取り付け
10W機なのでファンが付いていませんでした。狭い場所に押し込んで設置しているので温度が上がります。かと言ってファンを常時回転では、うるさい感じもします。そこでバイメタル式サーモスタットを利用して温度が上がったら回転するようにしました。費用は、サーモスタット(aitendo)で@100円とPC取り外し12VDCーFAN@0円と取付用の枠自作@?円でした。わりと快適に使えます。PCのファンは強力で使えます。純正ファンはオークションでも@1,200円くらいしますね。
バンドの切り替えプラスチックカップリングの交換
カップリングを秋葉原を探索しましたが見つかりません。ネットで見つけました。
金具とカップリングのイモネジを緩めてをはずしバンド切り替えシャフトを引き抜く。全部は抜かないように注意する。
LOADバリコンのカップリングも新品に交換する。
これで、バンド切り替えが確実になりました。とても気持ちがいいです。
TS-830VついにBANDスイッチの分解修理に着手
ロータリースイッチのシャフトを抜く。左が終段ボックスで右が正面パネル側になります。スイッチ基板に番号をつけました。
本体につながる3箇所のはんだ付けを外します。赤丸の最初の2箇所
3箇所目RF基板バリコンの下にあります。
忘れないように管理します。
ロータリースイッチのスペーサー配置と寸法
リベンジTS-830VのBANDスイッチの分解修理に再挑戦する!
交信中にいきなり送信出力が出なくなったり、バンドスイッチの位置により受信感度が著しく低下したり、今は受信送信できても翌日全く送受信できなかったり、CW送信時ALCのレベルが非常に不安定だったり数え上げたらきりがない不安定な状態が続いていました。前回思い切ってBANDスイッチの分解掃除に踏み切りました。その時は、改善したかに見えたのだが数時間運用するともとに戻ってしまいました。 スイッチの接点がベーク基板にハトメじめです。これが、熱で膨張と冷めて収縮をすることで接触抵抗が増してしまうのではないかと見当をつけ思い切って再度の分解修理も行いました。今回は、全ての接点を基板のパターにはんだ付けして電流の流れを確保するようにしました。接点のリン青銅の熱変性や半田の流入による弾性の低下をしないよう注意しながらはんだ付けを行いました。 本日改修3日目ですが送受信各バンド完全に動作しています。CW送信時のALCも安定しています。
修理前
修理後
これで、結果オーライで修理完了であるといいなあ!! 修理後2週間めに突入(H31.4.23)不具合なし。 令和元年2019年6月10日(月)現在は、こちら
憧れのWWII軍用無線機 BC-342 H-F
高校のアマチュア無線クラブJA1YPWで私が入学した当初、部室に鎮座しておりました。不動作品でしたが、ダイアル機構やブロックごとに見事に分割、配置された無線機に心を奪われました。
動作品ということでオークションで22k円で落札しました。長年の夢を叶えたつもりでしたが、相当いじられて(修理)おりました。外部ケーブル・コネクタの跡地にSメータなどついております。
中を見るといじり虫がうずきます。まずは、ダイアルの目盛線の交換をしました。アクリルを切断して線を一本引きました。
ブロックにまとめられたペーパーオイルコンデンサは、液漏れしているものも有りすべて交換しました。
購入した時、このようなブロックタイプのコンデンサは、2箇所しか残っていませんでした。高周波増幅部と混合部で3個、中間周波数増幅部で1個、低周波増幅部で2個すでに交換されていました。
配線は、単線と撚線が混じっていますが、ビニール線ではなくエンパイアチューブで被覆しています。非常に固く配線の取り回しを観察することも困難です。回路図を元に推定するしかありません。鮮やかな水色はセラミックコンデンサ、エンジは抵抗、黒はオイルチューブラコンデンサです。
狭い作業台で、重量物のBC-342をひっくり返すのは大変です。
和文モールス練習用音源ファイルの作成 ubuntu 15.04
平文(漢字のある文章)ーーー>ひらがな変換 ひらがなだけの文章ーーーー>カタカナ変換 カタカナだけの文章ーーーー>半角カタカナ変換
$nkf -Z4 --overwrite hoge.txt で全角カナから半角カナへの変換可能になりました。ver.2.0.9以降です。
$nkf -sx --overwrite hoge.txt でシフトJISに変換 オプションxによりシフトJISに変換するとき文字の半角を維持させる。
$wine .wine\\dosdevices\\c:\\CW2WAV\\cw2wav.exe で .WAV ファイルに変換
$soundconverter で .mp3 に変換しポータブルプレーヤーにコピーする。
COLLINSのレストア
電源製作516F-2もどき
75S-3B WING MARK Restore
工具紹介
コンデンサの予防的交換(リキャップ)(こわれてからでもいいみたいな?)
部品を丁寧に取り外す。「コリンズのメンテナンス」の著者JA3FR上銘氏が言われるようにからげた配線を丁寧に取り外した。 (これにこだわると部品を破壊することも...私だけか?)
それには、電力制御型のはんだこてとハンダ吸取器と鍵手のような分解工具(ソルダーアシスト)があるとうまくゆく
交換したコンデンサ。
便利工具
交換するときエンパイアチューブで絶縁する。オリジナルのものが使えるときそれを使った。
300Hz CRISTAL FILTER の取付け
梱包材もレトロでした。
取り付けのため寸法測定する。取り付け位置は、HAM-RADIO1975年9月号の記事を踏襲した。
CADで図面を起こす。
型紙を当てセンターポンチを打つ。
ハンドドリルで穴あけ
インピーダンス整合回路HAM-RADIO1975年9月号の記事を参考にした。固定のインチネジがないのでM3のナイロンスペーサで締め付けた。
ところがどうもおかしい。T4、T5の配線が75S-3Bとして予想していた配線と異なっていることが判明した。この個体はどうやら75S-1の回路のままだT4の2、4ピンがグランドに落ちている。
と言う事でインピーダンス変換回路無しで接続できそうなので接続した。結果は良好でメカフィル並みの減衰しかなくメカフィルと同等に使用できた。
SBによるとこの下図の回路変更により感度の向上があるので次の機会に試みたい。
Sメータの調整ボリューム(ガリオーム)の交換
Sメータの調整ボリュームがダメなので交換する。交換後は、非常になめらかに作動している。洗浄剤ではボリュームの「ガリ」が治らなっかった。不安定すぎて役目を果たさず。
東京コスモスのRV16がピッタリ穴に合うが軸長が短かったのでつまみをつけた。
調整ができるようになりメータの感度が安定した。とても見やすい。
75S-3BのBFOガリオームの交換
BFOのボリュームがガリオームになっているので非常にCWが聞きづらいので交換することにした。東京コスモスのRV24シリーズでS付きのものを探した。交換後は、CWが非常に聞きやすくなった。取り外す
スイッチは2回路用だがこれで大丈夫
まあ物理形状がピッタリとは、いかないね。オリジナルのパネルの形状を崩したりしないよう物理的工作はしないようにする。
つまみを取り外すために、このL字ブリストルレンチが必要になる。購入先ハムズオフィスhttp://www.hamsoffice.jp/colins.html
交換完了。つまみの取付で軸の短さカバーできる。
低周波増幅管6BF6発熱対策のFANの取付
取付方法は、こんな感じで電源トランスに固定する。
電源は、とりあえず外部より供給する。40℃NOのサーモスタットを取り付けた。
取付枠は、1mm厚のステンレス板で自作した。
オール真空管送信機 COLLINS 32S-3
COLLINS S LINE 送信機 32S-3ランドマークの修理(上の写真は、別のウィングマークです)
送信は、PTTでできました。VOXを使ってセミブレークインにするとキーを押し下げてもリレーが反応する場合としない場合があります。反応してもキーを押し下げ続けても数秒ほどでリレーが落ちてしまう症状です。VOX回路周りから疑い始めてましたが、さすがCOLLINSですね。各真空管のソケットの端子からの電圧と抵抗値の平均測定値なる表がマニュアルに有るので実機と比べてみました。V11の3ピンと6ピンの抵抗値が異常だったので電圧も測るとこれも大きく異なります。その後の話
しばらく使ってみました。VOXは正常に動作していましたが、今度は、VOXの動作がおかしくなりました。最初の短点が送信されなくなりました。V11の6U8Aの不具合かと調査中です。